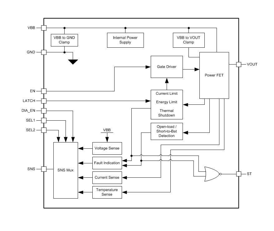
TPS27SA08 器件是一款单通道智能高侧开关,旨在与 24V 电源系统配合使用。该设备集成了强大的保护和诊断功能,即使在短路等有害事件中也能确保输出端口保护。该器件通过可靠的电流限制来防止故障,根据器件型号,该限流可配置为通过立即关闭开关或调节设定点(标称 20 A)的输出电流来响应过流事件。TPS27SA08 器件还提供高精度模拟电流检测,可在驱动不同的负载曲线时改进诊断。通过向系统 MCU 报告负载电流、器件温度和电源电压,该器件可实现预测性维护和负载诊断,从而延长系统使用寿命。
TPS27SA08 器件采用小型 16 引脚 HTSSOP 封装,可减少 PCB 占用空间。
*附件:tps27sa08.pdf
特性
- 具有典型 9mΩ R 的单通道智能高侧开关
上 (吨 J = 25°C) - 通过过流保护提高可靠性:
- 电流限制阈值标称值为 20 A
- 达到阈值时的电流限制(钳位)
- 强大的集成输出保护:
- 集成热保护
- 对地和电源短路保护
- 反向电源期间自动接通 FET
- 如果发生电源和接地丢失,则自动关闭
- 集成输出钳位,用于对感性负载进行消磁
- 可配置的故障处理
- 模拟感应输出可配置为精确测量:
- 将 FLT 指示返回给 MCU
参数

方框图

1. 产品概述
- 产品名称:TPS27SA08
- 类型:36V, 10A, 单通道智能高端开关
- 应用领域:工业电机驱动、加热元件(如传感器加热器、水箱加热器)、高电流数字输出、感性负载等
- 主要特点:集成鲁棒的保护和诊断功能,支持过流反应(瞬间关闭或调节输出电流),高精度模拟电流感应
2. 功能特性
- 保护机制:
- 热关断:内置温度传感器,过热时自动关闭输出
- 电流限制:支持过流保护,可通过外部电阻设置电流限制阈值
- 能量限制:监测FET中耗散的能量,防止过度应力
- 电压瞬态保护:包含VBB到GND和VBB到VOUT两个电压钳位,保护设备免受系统级电压瞬态影响
- 诊断机制:
- SNS输出:用于感应负载电流、供电电压或设备温度,支持多种诊断功能
- ST引脚:开漏输出,指示开关通道状态
- 故障指示:通过SNS和ST输出指示故障状态,如热关断、电流限制、能量限制、开路/短路到电源等
3. 技术规格
- 供电电压范围:8V至36V(标称),可承受电压瞬态高达40V
- 连续负载电流:最大10A(TA = 70°C)
- 热特性:
- 热阻(结到环境):32.8°C/W
- 热关断温度:160°C,带10°C迟滞
- 电气特性:
- 电流感应比例:4600(IOUT / ISNS)
- 开路检测电压:2V至2.54V
- 故障低输出电压:0.2V(版本A)
4. 应用与实现
- 典型应用:如汽车座椅加热器控制,通过监测负载电流和温度来实现故障预警和系统保护
- 设计考虑:包括选择合适的感应电阻、布局优化以减少热效应、以及必要的外部组件(如滤波电容、保护二极管等)
5. 布局与封装
- 布局指南:推荐将所有VOUT引脚在PCB上短路连接,连接裸露焊盘到大的铜平面以优化热性能
- 封装类型:16引脚HTSSOP封装,尺寸为5.00mm x 4.40mm
6. 文档与支持
- 相关文档:包括数据手册、应用报告、参考设计等
- 支持资源:TI提供E2E支持论坛和其他技术支持资源
7. 注意事项
- 静电放电(ESD)警告:处理集成电路时应采取适当的预防措施
- 热管理:在高功率应用中,需特别注意设备的热管理,以防止过热损坏