全球最实用的IT互联网信息网站!

AI人工智能P2P分享&下载搜索网页发布信息网站地图

当前位置:诺佳网 > 电子/半导体 > EMC/EMI设计 >

使用OI-EASU321进行芯片EMI表面扫描方案

时间:2023-11-11 08:30

人气:

作者:admin

标签:

导读:在现代电子设备的制造过程中,电磁干扰(EMI)成为了一个不可忽视的问题。特别是在集成电路的设计和生产过程中,随着电子设备的普及和发展,电磁干扰(EMI)对芯片性能的影响变...

在现代电子设备的制造过程中,电磁干扰(EMI)成为了一个不可忽视的问题。特别是在集成电路的设计和生产过程中,随着电子设备的普及和发展,电磁干扰(EMI)对芯片性能的影响变得越来越重要,而芯片上的EMI表面扫描则变得尤为重要。本文将向您介绍我们公司所推出的OI-EASU321型EMI扫描仪,为了确保芯片的稳定性和可靠性,我们推荐使用OI-EASU321型EMI扫描仪,结合IEC61967-3标准,进行芯片EMI表面扫描以及它在芯片EMI表面扫描方面等实际场景的应用。

主要设备

OI-EASU321型EMI扫描仪和软件:该扫描仪是一款高效、精确的设备,专门用于测量和分析芯片的电磁辐射。配备先进的EMI扫描软件,可以提供全面的数据分析和报告生成功能。

FSV3044信号分析仪:作为EMI扫描仪的配套设备之一,FSV3044信号分析仪能够实时监测和记录芯片发出的电磁波形,为后续的数据处理和分析提供支持。

ICE40ICH40近场探头组:这款近场探头组是EMI表面扫描的关键工具。它能够准确地接收芯片发出的电磁辐射信号,并将其传输到扫描仪进行处理。探头组的设计使其适用于各种尺寸和类型的芯片。

8f648ca4-8029-11ee-9788-92fbcf53809c.png

IEC61967-3标准IEC61967-3是国际电工委员会(IEC)制定的用于测量和评估设备辐射性能的标准之一。该标准提供了一套全面的测试方法和要求,确保芯片在实际使用中不会对其他设备产生不必要的电磁干扰。使用OI-EASU321型EMI扫描仪结合IEC61967-3标准,可以更好地评估芯片的性能和符合度。

IEC61967-3测试方法(辐射发射的测量-表面扫描法)

测试条件基础条件:试验条件应符合IEC 61967-1的要求。此外,还应适用以下试验条件。电源电压:电源电压应遵循IC制造商的规范。如果用户使用其他电压,应在测试报告中记录。频率范围:这个辐射发射测量程序的有效频率范围是150khz到6ghz。如果单个探头无法覆盖整个频率范围,则可以将频率范围划分为子范围,以允许使用多个探头,每个探头适合单独的频率子范围。8f80e232-8029-11ee-9788-92fbcf53809c.png

测试设备

基础条件:试验设备应符合IEC 61967-1的要求。此外,应适用以下测试设备要求。

屏蔽:探头与测量设备之间的互连建议使用双屏蔽或半刚性同轴电缆。根据当地的环境条件,也可能需要在屏蔽室内进行测量。

RF测量仪:用于该测试方法的RF测量仪器取决于所选探头的类型以及是否要获取相位或时间信息。在使用电场或磁场探头并仅测量发射幅值的情况下,使用单输入设备,如频谱分析仪、EMI接收机或示波器应使用。对于时域测量,可以使用示波器。在利用电场或磁场探头测量发射幅值和相位的情况下,一个双输入设备,如矢量信号测量仪器应使用。NOTE用矢量信号测量仪测量相位和幅度时,需要使用参考输入(R)和另一个输入(a或B)。s参数端口一般不能用于此测量。应调整频谱分析仪或接收机的分辨率带宽,以确保有足够的噪声裕度(大于6dB),同时允许足够的扫描时间,这取决于所选择的测试程序。视频带宽不应小于分辨率带宽的三倍。分辨率带宽和视频带宽应在测试报告中描述。

前置放大器:低噪声高增益前置放大器可用于提高灵敏度或满足测试环境要求(下文环境条件有详细说明)。为了使测量噪声最低,前置放大器应以尽可能短的电缆连接到探头。其特性(如增益、噪声系数等)应包括在测试报告中。近场探测器的回波损耗通常很低。如果探头没有很好的阻抗匹配,系统的噪声系数和增益将被修改。为了避免不必要的影响,如振荡或前置放大器损坏,在选择前置放大器时要特别注意其在近场扫描设置环境中的稳定性。

电缆:探针的扫描运动需要在设置的某些元素之间使用柔性电缆。除了保持其高频性能外,还应注意选择耐久的探头扫描运动电缆。电缆损耗作为频率的函数应包括在测试报告中。由于电缆的反复运动,会加速其劣化,应定期对电缆进行校准。当测试频率高于1ghz或需要进行相位测量时,每次测试前应对电缆进行校准。

近场探头

基本条件:用于表面扫描的近场探头可以根据用户的偏好、要测量的场的类型、测量设备的能力和所需的测量空间分辨率采取各种形式。有些探头只在特定的方向上接收场。为了在几个方向上接收场,需要在 扫描过程中改变探头或旋转探头。测试报告中应包括用于测量的探头的简要说明。适用的频率范围取决于探头的结构和校准方法。

磁(H)场探头:对于磁场测量,常使用单匝、微型磁环探头。典型的探头由导线、同轴电缆、PCB或任何其他合适的材料组成。

电(E)磁场探头:对于电场测量,通常使用微型电场探头。探头可以由电线、同轴电缆、PCB走线或任何其他合适的材料构成。

电磁联合(E/H)场探头:对于联合电场和磁场测量,通常使用单圈微型磁环探头。探头可以由电线、同轴电缆、PCB走线或任何其他合适的材料构成。

探头定位和数据采集系统:需要一个精确的探头定位系统和数据采集系统。探头定位系统应能够在至少两个轴上移动探头(平行于DUT表面), 并且能够用比最小要求步长至少小十倍的机械步长定位探头。近场探头的x、y、z位置在旋转后可能会出现错位。应注意通过重新定位探头来补偿由此产生的偏移。

测试设置

基础:测试装置应符合IEC 61967-1中描述的要求。此外,应适用以下测试设置要求。

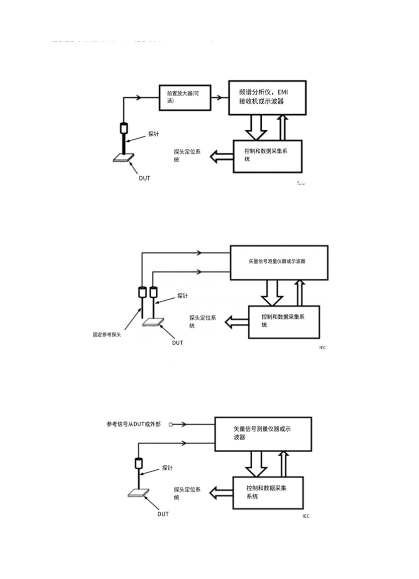
测试配置

8f9b520c-8029-11ee-9788-92fbcf53809c.png

第一种测试配置只允许测量大小,其余两种允许相位或时域测量幅度,对于相位或时域测量,需要一个参考信号。该信号可以被外部应用到设备的引脚上,通过引脚从设备输出或用固定的辅助探针捕获。

为了计算DUT上的电流分布,需要相位信息。如果只需要辐射场的幅值,则不需要相位信息。

测试电路板:安装和扫描DUT的测试电路板可以是扫描探针可以接触到的任何电路板。如果要对集成电路进行比较评估,则应在相同的PCB上进行测试。PCB可以是应用PCB或按照IEC 61967-1设计的标准化测试电路板。测试线路板应牢固地安装在测头定位系统中,以增强测试的可重复性。这应该通过使用对辐射场有有限影响的测试夹具来实现

探头定位系统软件设置:在DUT及其测试PCB设置好后,验证探头定位系统软件是否配置了所需的扫描参数,特别是与所需扫描区域有关的参数。确保在期望的扫描区域内没有可能损坏探针的障碍物。一些扫描仪软件需要参考点来补偿校准误差、原点偏移等,以及提高测量的可重复性。摄像机、激光器和其他类似的装置可用于辅助校准。DUT的图像也可以被记录下来,并用作现场测量的背景。测试报告中应包括对此类程序的简要描述。

DUT软件:在测量期间,应在DUT中实施适当的软件,以满足IEC 61967-1的要求。软件的描述应包含在测试报告中。

测试程序

基本:试验程序应符合IEC 61967-1,除非在此作了修改。这些默认的测试条件旨在确保一个一致的测试环境。如果本程序的用户同意其他条件,则应在测试报告中予以记录。

环境条件:应测量环境RF噪声级,以建立测试装置的噪声底限。只有测量结果,至少高于噪声底面6分贝,才被认为是可靠的。被测装置应安装在测试装置中,用于测试。被测装置不应被激活(例如电源电压断开)。应调整测试设备以进行操作扫描。应进行扫描以测量环境噪声,结果应在测试报告中描述。

如果环境RF噪声水平过高,则应检查整个测量系统的完整性,特别是互连电缆和连接器。必要时,屏蔽外壳、低噪声和/或更高增益的前置放大器或更窄的分辨率带宽应使用

操作检查:被测装置应通电并进行运行检查,以确保设备正常运行(即运行IC测试代码)。

测试技术

在IC测试板通电并且DUT在预期测试模式下工作的情况下,在每个期望的频率、位置和场方向上测量探头输出端的信号电平。

所使用的程序将取决于DUT的配置、测试设备、定位系统和数据采集系统,以及任何用户的偏好。例如,可以将探头定位在特定位置,以一系列频率测量数据,然后移动到下一个位置。然而,在改变测量频率并重新扫描整个表面之前,可能更倾向于在整个表面上测量特定频率的数据。

在特定位置,测量可以在特定频率下进行(即频谱分析仪以单一固定频率或“零幅”模式工作),或在接收机或频谱分析仪扫描的频带内进行(即中心频率/幅模式或启动/停止频率模式)。应谨慎选择扫描频带、分辨率带宽、视频带宽和扫描时间,以便允许集成电路工作的一个完整周期。

当使用频谱分析仪时,启用“最大保持”功能,并允许分析仪在IC工作周期执行时执行至少三次扫描。扫描时间应该远远大于IC工作周期时间,以确保捕获所有预期事件(脉冲、爆发等)。

说明频谱分析仪上的“最大保持”设置保持每个跟踪数据点的最大电平,如果在连续扫描中检测到新的最大电平,则更新每个点。

当使用接收机时,在每个测试位置停留一段大于或等于6倍IC工作周期时间的时间,并记录检测到的最大电平。

当使用矢量网络分析仪进行相位和幅度测量时,调整参数,如分辨率带宽,平均,扫描时间等,以获得最佳的测量精度,这取决于正在进行的测量类型。

当使用示波器进行时域测量时,调整采样频率、触发条件、扫描时间、滤波器的使用等,以获得所需的精度和测量时间。这些参数应包括在测试报告中。

在能够测量单个场方向的探头的情况下,它可以在每个位置自动旋转,以允许测量,例如,x场和y场。如果旋转是手动的,通常是用探针在一个位置扫描整个表面,并在重新扫描表面之前将其旋转90度。如果必须改变探头以从xy平面上的测量场切换到Z平面上的场,则使用类似的程序。在所有情况下,应注意确保各种探头相对于DUT的正确旋转和定位。

也可以在每个位置旋转探头以找到最大场(例如在xy平面上)。然后将视场角包含在测试报告中。

扫描可以在平行或垂直于IC表面的平面上进行,也可以在一系列平面上进行,从而形成三维映射。测量频率可以改变,以评估DUT发射源模式的频率依赖性。测量平面与集成电路表面之间的距离可以改变,以创建集成电路的三维发射图案。扫描平面和探头的步进可以任意确定,以达到测量的目的。虽然扫描通常在DUT上方的恒定高度进行,但它们也可以遵循DUT及其周围区域的轮廓。

数据采集系统存储在每个位置探头输出处测量的信号电平、探头方向和频率。后处理可以考虑由前置放大器和电缆引起的增益、损耗和相位偏移。探头校准数据可以允许从测量信号电平到磁场或电场强度的转换。

OI-EASU321型EMI扫描仪的应用案例

芯片生产过程中的质量控制:使用OI-EASU321型EMI扫描仪进行芯片EMI表面扫描,可以及早发现电磁干扰问题,提高芯片的质量。

设备维修与故障排除:当设备出现故障或性能下降时,使用OI-EASU321型EMI扫描仪对芯片进行EMI表面扫描,可以快速定位问题,并采取相应的修复措施。

芯片设计优化:在芯片设计阶段,使用OI-EASU321型EMI扫描仪对不同设计方案进行EMI表面扫描,可以评估其电磁兼容性,并优化设计方案。

实验室研发测试:便于工程师有针对性地采取干扰抑制措施,在设计过程及早识别EMC问题,优化设计,有效减少成本,缩短研发周期。

结论

随着电子设备的不断发展,芯片EMI表面扫描变得越来越重要。通过使用OI-EASU321型EMI扫描仪,结合IEC61967-3标准,我们可以更好地评估芯片的性能和符合度。这将有助于确保芯片的稳定性和可靠性,提高产品质量,为用户提供更好的使用体验。您可以及时发现潜在的EMI问题,提高产品的质量和可靠性。

温馨提示:以上内容整理于网络,仅供参考,如果对您有帮助,留下您的阅读感言吧!
相关阅读
本类排行
相关标签
本类推荐

CPU | 内存 | 硬盘 | 显卡 | 显示器 | 主板 | 电源 | 键鼠 | 网站地图

Copyright © 2025-2035 诺佳网 版权所有 备案号:赣ICP备2025066733号
本站资料均来源互联网收集整理,作品版权归作者所有,如果侵犯了您的版权,请跟我们联系。

关注微信