全球最实用的IT互联网信息网站!

AI人工智能P2P分享&下载搜索网页发布信息网站地图

当前位置:诺佳网 > 电子/半导体 > EMC/EMI设计 >

电磁屏蔽理论介绍

时间:2022-11-01 09:16

人气:

作者:admin

标签:

导读:电磁屏蔽理论介绍-电磁兼容性(Electro Magnetic Compatibility,EMC),是指设备或系统在其电磁环境中符合要求运行并不对其环境中的任何设备产生无法忍受的电磁干扰的能力。...

  电磁兼容性(Electro Magnetic Compatibility,EMC),是指设备或系统在其电磁环境中符合要求运行并不对其环境中的任何设备产生无法忍受的电磁干扰的能力。因此,EMC包括两个方面的要求:一方面是指设备在正常运行过程中对所在环境产生的电磁干扰不能超过一定的限值;另一方面是指器具对所在环境中存在的电磁干扰具有一定程度的抗扰度,即电磁敏感性。本系列将为新手们讲述EMC理论基础知识,本文主要介绍电磁屏蔽理论,感兴趣的朋友可以看看。  


1、 屏蔽效能的感念屏蔽是利用屏蔽体来阻挡或减小电磁能传输的一种技术,是抑制电磁干扰的重要手段之一。屏蔽有两个目的,一是限值内部辐射的电磁能量泄漏出该内部区域,二是防止外来的辐射干扰进入某一区域。   电磁场通过金属材料隔离时,电磁场的强度将明显降低,这种现象就是金属材料的屏蔽作用。我们可以用同一位置无屏蔽体时电磁场的强度与加屏蔽体之后电磁场的强度之比来表征金属材料的屏蔽作用,定义屏蔽效能(ShieldingEffectiveness,简称 SE):   cd4c75c4-597c-11ed-a3b6-dac502259ad0.jpg


  2、屏蔽体上孔缝的影响   实际上,屏蔽体上面不可避免地存在各种缝隙、开孔以及进出电缆等各种缺陷,这些缺陷将对屏蔽体的屏蔽效能有急剧的劣化作用。   上节中分析的理想屏蔽体在 30MHz以上的屏蔽效能已经足够高,远远超过工程实际的需要。真正决定实际屏蔽体的屏蔽效能的因素是各种电气不连续缺陷,包括:缝隙、开孔、电缆穿透等。   屏蔽体上面的缝隙十分常见,特别是目前机柜、插箱均是采用拼装方式,其缝隙十分多,如果处理不妥,缝隙将急剧劣化屏蔽体的屏蔽效能。


  3、孔缝屏蔽的总体设计思想   根据小孔耦合理论,决定孔缝泄漏量的因素主要有两个:孔缝面积和孔缝最大线度尺寸。两者皆大,则泄漏最为严重;面积小而最大线度尺寸大则电磁泄漏仍然较大。如图所示为一典型机柜示意图,上面的孔缝主要分为四类:
cd5fe85c-597c-11ed-a3b6-dac502259ad0.jpg
  (1)机箱(机柜)接缝
该类缝虽然面积不大,但其最大线度尺寸即缝长却非常大,由于维修、开启等限制,致使该类缝成为电子设备中屏蔽难度最大的一类孔缝,采用导电衬垫等特殊屏蔽材料可以有效地抑制电磁泄漏。该类孔缝屏蔽设计的关键在于:合理地选择导电衬垫材料并进行适当的变形控制。  

(2)通风孔
该类孔面积和最大线度尺寸较大,通风孔设计的关键在于通风部件的选择与装配结构的设计。在满足通风性能的条件下,应尽可能选用屏效较高的屏蔽通风部件。  

(3)观察孔与显示孔
该类型孔面积和最大线度尺寸较大,其设计的关键在于屏蔽透光材料的选择与装配结构的设计。

  (4)连接器与机箱接缝
这类缝的面积与最大线度尺寸均不大,但由于在高频时导致连接器与机箱的接触阻抗急剧增大,从而使得屏蔽电缆的共模传导发射变大,往往导致整个设备的辐射发射出现超标,为此应采用导电橡胶等连接器导电衬垫。  
由于辐射源分为近区的电场源、磁场源和远区的平面波,因此屏蔽体的屏蔽性能依据辐射源的不同,在材料选择、结构形状和对孔缝泄漏控制等方面都有所不同。

在设计中要达到所需的屏蔽性能,则需首先确定辐射源,明确频率范围,再根据各个频段的典型泄漏结构,确定控制要素,进而选择恰当的屏蔽材料,设计屏蔽壳体。   综上所述,孔缝抑制的设计要点归纳为:
  (1)合理选择屏蔽材料; (2)合理设计安装互连结构。

  4、孔洞泄露的评估
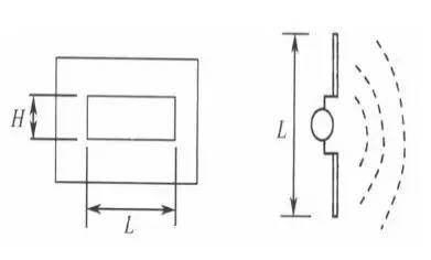
机箱上不可避免地会有各种孔洞,这些孔洞最终决定了屏蔽体的屏蔽效能(假设没有电缆穿过机箱)。一般可以认为,屏蔽机箱在低频时的屏蔽效能主要取决于制 造屏蔽体的材料,在高频时的屏蔽效能主要取决于机箱上的孔洞和缝隙。当电磁波入射到一个孔洞时,孔洞的作用是相当于一个偶极天线。当缝隙的长度达到1/2 时,其辐射效率最高(与缝隙的宽度无关)。也就是说,它可以入射到缝隙的全部能量辐射出去,如图所示。   cd741f66-597c-11ed-a3b6-dac502259ad0.jpg
 

在远场区,如果孔洞的最大尺寸L小于λ/2,一个厚度为0的材料上的缝隙的屏蔽效能为:

cd8147d6-597c-11ed-a3b6-dac502259ad0.jpg 如果L大于λ/2,则SE=0(dB)。
式中:SE──屏蔽效能(dB);     L──孔洞的长度(mm);     H──孔洞的宽度(mm);     f──入射电磁波的频率(MHz)。   这个公式计算的是最坏情况下(造成最大泄露的极化方向)的屏蔽效能,实际情况下屏蔽效能可能会更高一些。   在近场区,孔洞的泄露还与辐射源是磁场源有关。当辐射源是电场源时,孔洞的泄露比远场小(屏蔽效能高);而当辐射源是磁场源时,孔洞的泄露比远场大(屏蔽效能低)。   对于不同电路阻抗Zc的辐射源,计算公式如下:
若ZC>(7.9/Df):(电场源) cd8ee03a-597c-11ed-a3b6-dac502259ad0.jpg
若ZC<(7.9/Df):(电场源) cd9bc75a-597c-11ed-a3b6-dac502259ad0.jpg 式中:SE──屏蔽效能(dB);      L──孔洞的长度(mm);      H──孔洞的宽度(mm);      f──入射电磁波的频率(MHz)。   这个公式计算的是最坏情况下(造成最大泄漏的极化方向)的屏蔽效能,实际情况下屏蔽效能可能会更高一些。   需要注意的问题是,对于磁场辐射源,孔洞在近场区的屏蔽效能与电磁波的频率没有关系,也就是说,很小的孔洞也可能导致较大的泄漏。这时影响屏蔽效能的一个更重要参数是孔洞到辐射源的距离。孔洞距离辐射源越近,泄漏越大。这个特点往往导致屏蔽体发生意外的泄漏。因为在屏蔽体上开孔的一个目的是通风散热,这 意味着会很自然地将孔洞设计在靠近发热源附近,而发热源往往是大电流的载体,在其周围有较强的磁场。结果,无意识地将孔洞开在强磁场辐射源的附近。因此, 在设计中,要注意孔洞和缝隙要远离电流载体,例如线路板、电缆、变压器等。  

当N个尺寸相同的孔洞排列在一起,并且相距较近(距离小于λ/2)时,孔洞阵列的屏蔽效能会下降,下降数值为10lgN。   因为孔洞的辐射有方向性,因此在不同面上的孔洞不会明显增加泄漏,利用这个特点可以在设计时将孔洞放在屏蔽机箱的不同面,避免某一个面的辐射过强。  

      审核编辑:彭静
温馨提示:以上内容整理于网络,仅供参考,如果对您有帮助,留下您的阅读感言吧!
相关阅读
本类排行
相关标签
本类推荐

CPU | 内存 | 硬盘 | 显卡 | 显示器 | 主板 | 电源 | 键鼠 | 网站地图

Copyright © 2025-2035 诺佳网 版权所有 备案号:赣ICP备2025066733号
本站资料均来源互联网收集整理,作品版权归作者所有,如果侵犯了您的版权,请跟我们联系。

关注微信