全球最实用的IT互联网信息网站!

AI人工智能P2P分享&下载搜索网页发布信息网站地图

当前位置:诺佳网 > 电子/半导体 > 可编程逻辑 >

一篇文章读懂读透FPGA AXI4 总线协议

时间:2017-09-19 10:55

人气:

作者:admin

标签:

导读:AMBA AXI协议支持支持高性能、高频率系统设计。适合高带宽低延时设计无需复杂的桥就能实现高频操作能满足大部分器件的接口要求适合高初始延时的存储控制器提供互联架构的灵活性与...

新一代FPGA中采用的基本都是AXI4总线协议,例如与slaver侧的DMADDR通信。这篇讲AXI4的文章感觉讲的很清楚。

0.绪论AXI是高级扩展接口,在AMBA3.0中提出,AMBA4.0将其修改升级为AXI4.0。AMBA4.0 包括AXI4.0、AXI4.0-lite、ACE4.0、AXI4.0-stream

AXI4.0-lite是AXI的简化版本,ACE4.0 是AXI缓存一致性扩展接口,AXI4.0-stream是ARM公司和Xilinx公司一起提出,主要用在FPGA进行以数据为主导的大量数据的传输应用。

1.简介

1.1 关于AXI协议

AMBA AXI协议支持支持高性能、高频率系统设计。

关键特点:

  • 适合高带宽低延时设计

  • 无需复杂的桥就能实现高频操作

  • 能满足大部分器件的接口要求

  • 适合高初始延时的存储控制器

  • 提供互联架构的灵活性与独立性

  • 向下兼容已有的AHB和APB接口

  • 分离的地址/控制、数据相位

  • 使用字节线来支持非对齐的数据传输

  • 使用基于burst的传输,只需传输首地址

  • 分离的读、写数据通道,能提供低功耗DMA

  • 支持多种寻址方式

  • 支持乱序传输

  • 允许容易的添加寄存器级来进行时序收敛

1.2 AXI架构

AXI协议是基于burst的传输,并且定义了以下5个独立的传输通道:读地址通道、读数据通道、写地址通道、写数据通道、写响应通道。

地址通道携带控制消息用于描述被传输的数据属性,数据传输使用写通道来实现“主”到“从”的传输,“从”使用写响应通道来完成一次写传输;读通道用来实现数据从“从”到“主”的传输。

图 1-1 读架构

图 1-2 写架构

AXI是基于VALID/READY的握手机制数据传输协议,传输源端使用VALID表明地址/控制信号、数据是有效的,目的端使用READY表明自己能够接受信息。

读/写地址通道:读、写传输每个都有自己的地址通道,对应的地址通道承载着对应传输的地址控制信息。

读数据通道:读数据通道承载着读数据和读响应信号包括数据总线(8/16/32/64/128/256/512/1024bit)和指示读传输完成的读响应信号。

写数据通道:写数据通道的数据信息被认为是缓冲(buffered)了的,“主”无需等待“从”对上次写传输的确认即可发起一次新的写传输。写通道包括数据总线(8/16…1024bit)和字节线(用于指示8bit 数据信号的有效性)。

写响应通道:“从”使用写响应通道对写传输进行响应。所有的写传输需要写响应通道的完成信号。

图 1-3 接口与互联

AXI协议提供单一的接口定义,能用在下述三种接口之间:master/interconnect、slave/interconnect、master/slave。

可以使用以下几种典型的系统拓扑架构:

  • 共享地址与数据总线

  • 共享地址总线,多数据总线

  • multilayer多层,多地址总线,多数据总线

在大多数系统中,地址通道的带宽要求没有数据通道高,因此可以使用共享地址总线,多数据总线结构来对系统性能和互联复杂度进行平衡。

寄存器片(Register Slices):

每个AXI通道使用单一方向传输信息,并且各个通道直接没有任何固定关系。因此可以可以在任何通道任何点插入寄存器片,当然这会导致额外的周期延迟。

使用寄存器片可以实现周期延迟(cycles of latency)和最大操作频率的折中;使用寄存器片可以分割低速外设的长路径。

2.信号描述

表 2-1 全局信号

信号名

描述

ACLK

时钟

全局时钟信号

ARESETn

复位源

全局复位信号,低有效

表 2-2 写地址通道信号

信号名

描述

AWID

主机

写地址ID,用来标志一组写信号

AWADDR

主机

写地址,给出一次写突发传输的写地址

AWLEN

主机

突发长度,给出突发传输的次数

AWSIZE

主机

突发大小,给出每次突发传输的字节数

AWBURST

主机

突发类型

AWLOCK

主机

总线锁信号,可提供操作的原子性

AWCACHE

主机

内存类型,表明一次传输是怎样通过系统的

AWPROT

主机

保护类型,表明一次传输的特权级及安全等级

AWQOS

主机

质量服务QoS

AWREGION

主机

区域标志,能实现单一物理接口对应的多个逻辑接口

AWUSER

主机

用户自定义信号

AWVALID

主机

有效信号,表明此通道的地址控制信号有效

AWREADY

从机

表明“从”可以接收地址和对应的控制信号

表 2-3 写数据通道信号

信号名

描述

WID

主机

一次写传输的ID tag

WDATA

主机

写数据

WSTRB

主机

写数据有效的字节线,用来表明哪8bits数据是有效的

WLAST

主机

表明此次传输是最后一个突发传输

WUSER

主机

用户自定义信号

WVALID

主机

写有效,表明此次写有效

WREADY

从机

表明从机可以接收写数据

表 2-4 写响应通道信号

信号名

描述

BID

从机

写响应ID tag

BRESP

从机

写响应,表明写传输的状态

BUSER

从机

用户自定义

BVALID

从机

写响应有效

BREADY

主机

表明主机能够接收写响应

表 2-5 读地址通道信号

信号名

描述

ARID

主机

读地址ID,用来标志一组写信号

ARADDR

主机

读地址,给出一次写突发传输的读地址

ARLEN

主机

突发长度,给出突发传输的次数

ARSIZE

主机

突发大小,给出每次突发传输的字节数

ARBURST

主机

突发类型

ARLOCK

主机

总线锁信号,可提供操作的原子性

ARCACHE

主机

内存类型,表明一次传输是怎样通过系统的

ARPROT

主机

保护类型,表明一次传输的特权级及安全等级

ARQOS

主机

质量服务QoS

ARREGION

主机

区域标志,能实现单一物理接口对应的多个逻辑接口

ARUSER

主机

用户自定义信号

ARVALID

主机

有效信号,表明此通道的地址控制信号有效

ARREADY

从机

表明“从”可以接收地址和对应的控制信号

表 2-6 读数据通道信号

信号名

描述

RID

从机

读ID tag

RDATA

从机

读数据

RRESP

从机

读响应,表明读传输的状态

RLAST

从机

表明读突发的最后一次传输

RUSER

从机

用户自定义

RVALID

从机

表明此通道信号有效

RREADY

主机

表明主机能够接收读数据和响应信息

表 2-7 低功耗接口信号

信号名

描述

CSYSREQ

时钟控制器

系统退出低功耗请求,此信号从“时钟控制器”到“外设”

CSYSACK

外设

退出低功耗状态确认

CACTIVE

外设

外设请求时钟有效

3.信号接口要求

3.1时钟复位

时钟

每个AXI组件使用一个时钟信号ACLK,所有输入信号在ACLK上升沿采样,所有输出信号必须在ACLK上升沿后发生。

复位

AXI使用一个低电平有效的复位信号ARESETn,复位信号可以异步断言,但必须和时钟上升沿同步去断言。

复位期间对接口有如下要求:①主机接口必须驱动ARVALID,AWVALID,WVALID为低电平;②从机接口必须驱动RVALID,BVALID为低电平;③所有其他信号可以被驱动到任意值。

在复位后,主机可以在时钟上升沿驱动ARVALID,AWVALID,WVALID为高电平。

3.2基本读写传输

握手过程

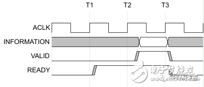
5个传输通道均使用VALID/READY信号对传输过程的地址、数据、控制信号进行握手。使用双向握手机制,传输仅仅发生在VALID、READY同时有效的时候。下图是几种握手机制:

图 3-1 VALID before READY 握手

图 3-2 READY before VALID 握手

图 3-3 VALID with READY 握手

通道信号要求

通道握手信号:每个通道有自己的xVALID/xREADY握手信号对。

写地址通道:当主机驱动有效的地址和控制信号时,主机可以断言AWVALID,一旦断言,需要保持AWVALID的断言状态,直到时钟上升沿采样到从机的AWREADY。AWREADY默认值可高可低,推荐为高(如果为低,一次传输至少需要两个周期,一个用来断言AWVALID,一个用来断言AWREADY);当AWREADY为高时,从机必须能够接受提供给它的有效地址。

写数据通道:在写突发传输过程中,主机只能在它提供有效的写数据时断言WVALID,一旦断言,需要保持断言状态,知道时钟上升沿采样到从机的WREADY。WREADY默认值可以为高,这要求从机总能够在单个周期内接受写数据。主机在驱动最后一次写突发传输是需要断言WLAST信号。

写响应通道:从机只能它在驱动有效的写响应时断言BVALID,一旦断言需要保持,直到时钟上升沿采样到主机的BREADY信号。当主机总能在一个周期内接受写响应信号时,可以将BREADY的默认值设为高。

读地址通道:当主机驱动有效的地址和控制信号时,主机可以断言ARVALID,一旦断言,需要保持ARVALID的断言状态,直到时钟上升沿采样到从机的ARREADY。ARREADY默认值可高可低,推荐为高(如果为低,一次传输至少需要两个周期,一个用来断言ARVALID,一个用来断言ARREADY);当ARREADY为高时,从机必须能够接受提供给它的有效地址。

读数据通道:只有当从机驱动有效的读数据时从机才可以断言RVALID,一旦断言需要保持直到时钟上升沿采样到主机的BREADY。BREADY默认值可以为高,此时需要主机任何时候一旦开始读传输就能立马接受读数据。当最后一次突发读传输时,从机需要断言RLAST。

通道间关系

  • AXI协议要求通道间满足如下关系:

  • 写响应必须跟随最后一次burst的的写传输

  • 读数据必须跟随数据对应的地址

通道握手信号的依耐关系

为防止死锁,通道握手信号需要遵循一定的依耐关系。①VALID信号不能依耐READY信号。②AXI接口可以等到检测到VALID才断言对应的READY,也可以检测到VALID之前就断言READY。下面有几个图表明依耐关系,单箭头指向的信号能在箭头起点信号之前或之后断言;双箭头指向的信号必须在箭头起点信号断言之后断言。

图 3-4 读传输握手依耐关系

图 3-5 写传输握手依耐关系

图 3-6 从机写响应握手依耐关系

3.3传输结构

地址结构

AXI协议是基于burst的,主机只给出突发传输的第一个字节的地址,从机必须计算突发传输后续的地址。突发传输不能跨4KB边界(防止突发跨越两个从机的边界,也限制了从机所需支持的地址自增数)。

1)突发长度

ARLEN[7:0]决定读传输的突发长度,AWLEN[7:0]决定写传输的突发长度。AXI3只支持1~16次的突发传输(Burst_length=AxLEN[3:0]+1),AXI4扩展突发长度支持INCR突发类型为1~256次传输,对于其他的传输类型依然保持1~16次突发传输(Burst_Length=AxLEN[7:0]+1)。

  • burst传输具有如下规则:

  • wraping burst ,burst长度必须是2,4,8,16

  • burst不能跨4KB边界

  • 不支持提前终止burst传输

所有的组件都不能提前终止一次突发传输。然而,主机可以通过解断言所有的写的strobes来使非所有的写字节来减少写传输的数量。读burst中,主机可以忽略后续的读数据来减少读个数。也就是说,不管怎样,都必须完成所有的burst传输。

注:对于FIFO,忽略后续读数据可能导致数据丢失,必须保证突发传输长度和要求的数据传输大小匹配。

突发大小

ARSIZE[2:0],读突发传输;AWSIZE[2:0],写突发传输。

AxSIZE[2:0] bytes in transfer

‘b0001

‘b0012

‘b0104

‘b0118

‘b10016

‘b10132

‘b11064

‘b111128

突发类型

FIXED:突发传输过程中地址固定,用于FIFO访问

INCR:增量突发,传输过程中,地址递增。增加量取决AxSIZE的值。

WRAP:回环突发,和增量突发类似,但会在特定高地址的边界处回到低地址处。回环突发的长度只能是2,4,8,16次传输,传输首地址和每次传输的大小对齐。最低的地址整个传输的数据大小对齐。回环边界等于(AxSIZE*AxLEN)。

AxBURST[1:0]burst type

‘b00FIXED

‘b01INCR

‘b10WRAP

‘b11Reserved

Start_Address=AxADDR

Number_Bytes=2^AxSIZE

Burst_Length=AxLEN+1

Aligned_Addr=(INT(Start_Address/Number_Bytes))xNumber_Bytes。//INT表示向下取整。

对于INCR突发和WRAP突发但没有到达回环边界,地址由下述方程决定:

Address_N=Aligned_Address+(N-1)xNumber_Bytes

WRAP突发,突发边界:

Wrap_Boundary=(INT(Start_Address/(Number_Bytes x Burst_Length)))x(Number_Bytes x Burst_Length)

数据读写结构

WSTRB[n:0]对应于对应的写字节,WSTRB[n]对应WDATA[8n+7:8n]。WVALID为低时,WSTRB可以为任意值,WVALID为高时,WSTRB为高的字节线必须指示有效的数据。

窄传输

当主机产生比它数据总线要窄的传输时,由地址和控制信号决定哪个字节被传输:

INCR和WRAP,不同的字节线决定每次burst传输的数据,FIXED,每次传输使用相同的字节线。

下图给出了5次突发传输,起始地址为0,每次传输为8bit,数据总线为32bit,突发类型为INCR。

图 3-7 窄传输示例1

下图给出3次突发,起始地址为4,每次传输32bit,数据总线为64bit。

图 3-8 窄传输示例2

非对齐传输

AXI支持非对齐传输。在大于一个字节的传输中,第一个自己的传输可能是非对齐的。如32-bit数据包起始地址在0x1002,非32bit对齐。

主机可以①使用低位地址线来表示非对齐的起始地址;②提供对齐的起始地址,使用字节线来表示非对齐的起始地址。

图 3-9 对齐非对齐传输示例1-32bit总线

图 3-10 对齐非对齐传输示例2-64bit总线

图 3-11 对齐的回环传输示例

读写响应结构

读传输的响应信息是附加在读数据通道上的,写传输的响应在写响应通道。

RRESP[1:0],读传输

BRESP[1:0],写传输

OKAY(‘b00):正常访问成功

EXOKAY(‘b01):Exclusive 访问成功

SLVERR(‘b10):从机错误。表明访问已经成功到了从机,但从机希望返回一个错误的情况给主机。

DECERR(‘b11):译码错误。一般由互联组件给出,表明没有对应的从机地址。


温馨提示:以上内容整理于网络,仅供参考,如果对您有帮助,留下您的阅读感言吧!
相关阅读
本类排行
相关标签
本类推荐

CPU | 内存 | 硬盘 | 显卡 | 显示器 | 主板 | 电源 | 键鼠 | 网站地图

Copyright © 2025-2035 诺佳网 版权所有 备案号:赣ICP备2025066733号
本站资料均来源互联网收集整理,作品版权归作者所有,如果侵犯了您的版权,请跟我们联系。

关注微信